1
/
of
2
Kitchen Cabinet Warehouse
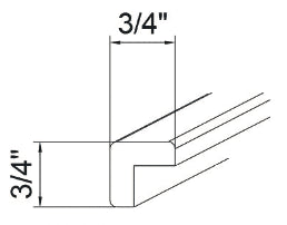
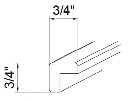
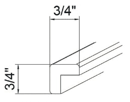
Modern White Shaker Outside Corner Molding
Modern White Shaker Outside Corner Molding
Regular price
$39.00 USD
Regular price
Sale price
$39.00 USD
Quantity
Couldn't load pickup availability
Modern White Shaker Outside Corner Molding
Share
